我們知道,使用過盈配合,可以把軸承牢牢地卡在軸上,但對于有軸向載荷的場景,光過盈配合是不夠的,還需要其他的固定方式,防止軸承內外圈沿軸向產生移動。


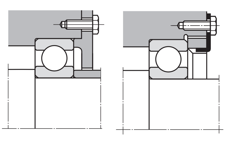
內外圈的固定,常見的辦法是通過緊定螺釘或螺栓,通過施加的力,使套圈端面產生輕微位移,緊貼在軸承上,如上圖所示,為內圈的固定,下圖所示,為外圈的固定。


有些軸承帶的有止動環槽,止動環槽設計,就是方便軸承固定的,但止動環不能應用于高精度以及軸承載荷壓力較大的場景,止動環固定如下圖所示。


圓錐孔軸承安裝于圓柱軸時,一般會附帶緊定套或退卸套,方便軸承安裝與拆卸,緊定套和退卸套是通過壓力與靜摩擦系數生成摩擦力的原理設計的,可承受較大的單向軸向載荷,或一側有擋邊時,可承受較大的雙向軸向載荷,如下圖所示。


圓錐孔軸承安裝于圓錐孔時,由于錐形軸與錐形軸承內圈本身就會套緊,所以不需要附帶緊定套或退卸套,但需要剖分環卡緊,具體的做法是把剖分環卡入軸上的溝槽內,再用緊定螺釘鎖緊,如下圖所示。



